Топливная система Yangdong YSD490D

Топливная система Yangdong YSD490D

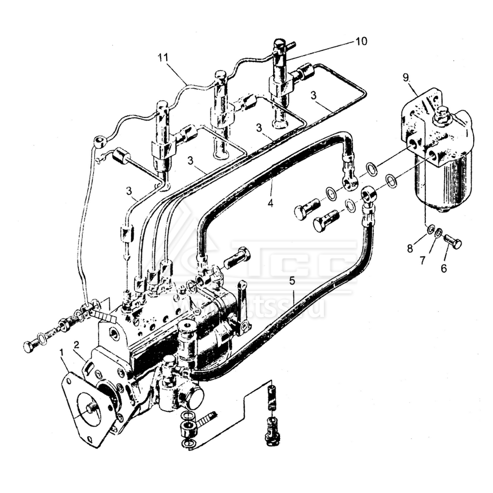
№ поз.

Номер.

Description

Наименование

К-во

Примечание

1

Y480G-02002

Fuel injection pump gasket

Прокладка фланца топливного насоса высокого давления

1

 

2

Y480G-10100

Fuel injection pump

Насос топливный высокого давления

1

 

3

YSD490Q-10500

High pressure fuel pipe

Трубки высокого давления (комплект)

1

 

4

YSD490Q-10800

Fuel feed pipe from fuel filter to injection pump

Трубка топливная от топливного фильтра к топливному насосу высокого давления

1

 

5

YSD490Q-10900а

Fuel feed pipe from fuel supply pump to fuel  filter

Трубка топливная от подкачивающего насоса к топливному фильтру

1

 

6

GB5783-86

Bolt

Болт

2

 

7

GB93-87

Spring washer

Шайба пружинная

2

 

8

GB848-85

Washer

Шайба

2

 

9

YSD490Q-10600a

Fuel filter

Фильтроэлемент топливного фильтра

1

 

10

YSD490Q-10700

Fuel injector

Форсунка топливная

4

 

11

Y480G-10400

Fuel return pipe

Трубка топливная дренажная

1

 

×

Оставить заявку

Защита от автоматических сообщений

Введите слово на картинке *

Заявка на ремонт оборудования

выбрать файл файл не выбран
выбрать файл файл не выбран
выбрать файл файл не выбран
Оставаясь на сайте, вы соглашаетесь на использование файлов куки и передачей данных службам веб-аналитики
Принять