Патрубки радиатора SDEC SC9D340D2

Патрубки радиатора SDEC SC9D340D2

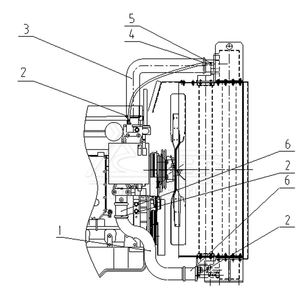
№ поз.

Номер

Part name

Наименование

К-во

Примечание

1

S00008842+01

WATER PUMP INLET PIPE

Патрубок входной водяного насоса

1

2

B00001575

CLAMP

Хомут

6

3

S00007104+01

INLET PIPE, RADIATOR

Патрубок входной радиатора

1

4

B00002278

WATER HOSE

Рукав водяной

1

5

B00001558

CLAMP

Хомут

2

6

B00002432

WATER HOSE

Шланг водяной

2

×

Оставить заявку

Защита от автоматических сообщений

Введите слово на картинке *

Заявка на ремонт оборудования

выбрать файл файл не выбран
выбрать файл файл не выбран
выбрать файл файл не выбран
Оставаясь на сайте, вы соглашаетесь на использование файлов куки и передачей данных службам веб-аналитики
Принять