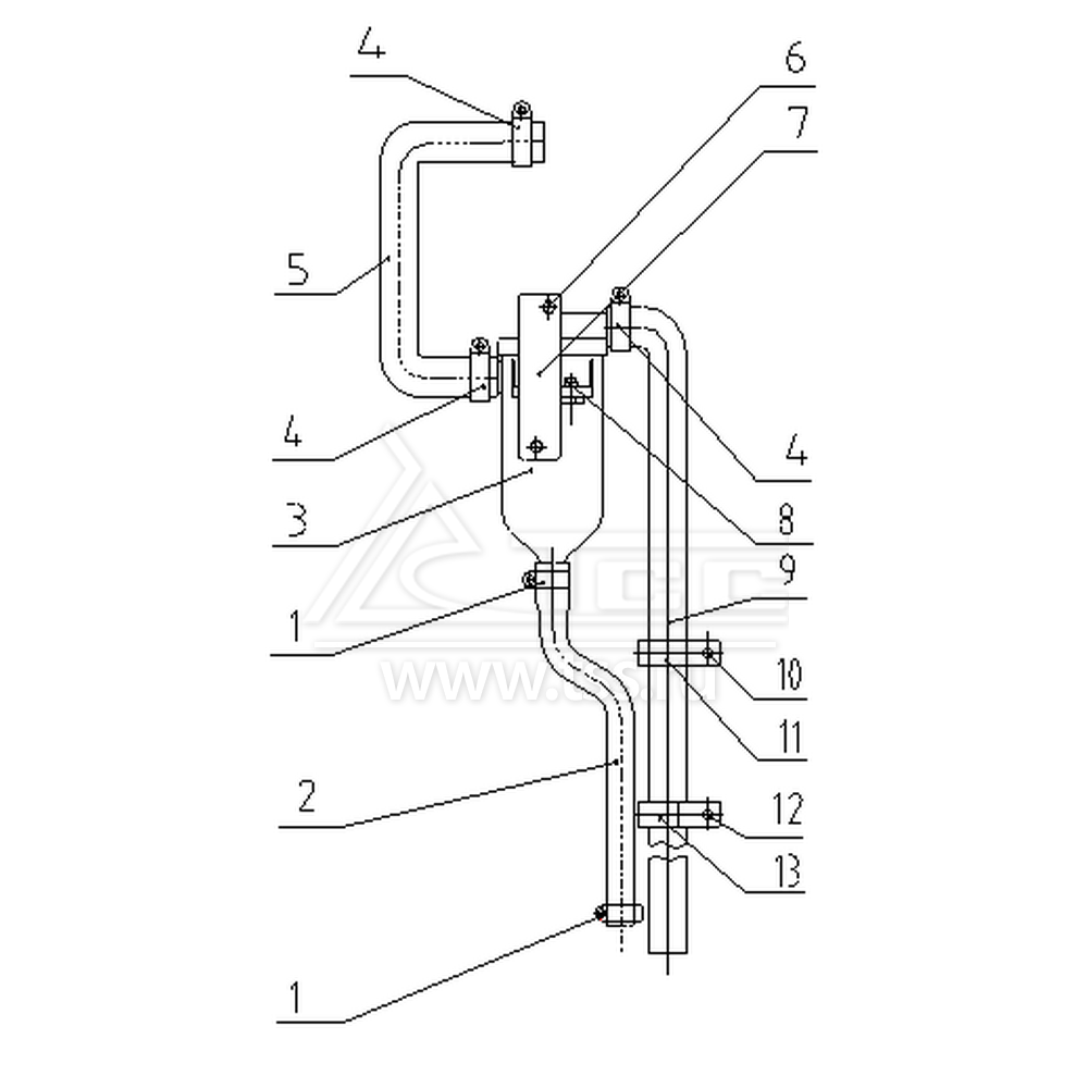
Система вентиляции картера SDEC SC9D340D2

Система вентиляции картера SDEC SC9D340D2

№ поз.

Номер

Part name

Наименование

К-во

Примечание

1

B00001563

CLAMP

Хомут

2

2

S00008370+02

OIL RETURN PIPE, CRANKCASE VENT FILTER

Трубка возврата масла из фильтра-сепаратора масла

1

3

D42-001-30A+C

CRANKCASE VENT FILTER ASSY

Фильтр-сепаратор масла в сборе

1

4

B00001567

CLAMP

Хомут

3

5

S00008323+02

MIST INLET PIPE, CRANKCASE VENT FILTER

Трубка подвода картерных газов в фильтр-сепаратор

1

6

B00002047

HEX HEAD BOLT (FLANGED)

Болт с шестигранной головкой с фланцем

2

7

S00008844+01

BRACKET, CRANKCASE VENT FILTER

Кронштейн фильтра-сепаратора масла

1

8

B00002120

HEXAGON BOLTS

Болт с шестигранной головкой

2

9

D42-500-01+A

AIR OUTLET PIPE, CRANKCASE VENT FILTER

Трубка отвода картерных газов из фильтра-сепаратора

1

10

B00002134

HEXAGON BOLTS

Болт с шестигранной головкой

1

11

D42-107-31+B

CLAMP

Скоба прижимная

1

12

B00001996

HEXAGON BOLTS

Болт с шестигранной головкой

1

13

D24B-114-01+A

CLAMP

Скоба прижимная

1

×

Оставить заявку

Защита от автоматических сообщений

Введите слово на картинке *

Заявка на ремонт оборудования

выбрать файл файл не выбран
выбрать файл файл не выбран
выбрать файл файл не выбран
Оставаясь на сайте, вы соглашаетесь на использование файлов куки и передачей данных службам веб-аналитики
Принять