Маслосистема SDEC SC9D280D2

Маслосистема SDEC SC9D280D2

№ поз.

Номер

Part name

Наименование

К-во

Примечание

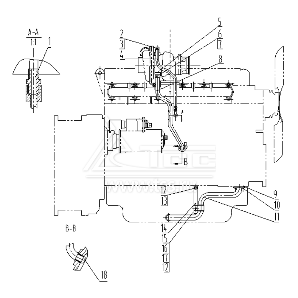
1

D19-118-01+B

CONNECTOR

Ниппель

1

2

B00002178

BANJO BOLT

Полый болт типа "банджо"

1

3

B00002193

WASHER

Шайба

2

4

D19-110-01C+B

OIL INLET PIPE, TURBOCHARGER

Трубка подачи масла в турбокомпрессор

1

5

D19-113-02+C

GASKET

Прокладка трубки слива масла из турбокомпрессора

1

6

B00000505

HEXAGON HEAD BOLT

Болт с шестигранной головкой

2

7

B00001275

PLAIN WASHER

Шайба плоская

2

8

S00003138+02

TURBOCHARGER OIL RETURN TUBE ASSY (WELDED)

Маслопровод возвратный турбокомпрессора в сборе

1

9

D19-114-01A+B

GASKET, PIPE FLANGE-OIL SUCTION PUMP

Прокладка соединения фланец трубки - заборный патрубок масляного насоса

1

10

B00003351

HEXAGON SOCKET HEAD CAP SCREW

Винт с внутренним шестигранником

2

11

D19-001-41+B

OIL SUCTION PIPE ASSY (WELDED), OIL SUCTION PUMP

Маслозаборная трубка в сборе, насос масляный

1

12

B00001297

PLAIN WASHER

Шайба плоская

4

13

B00000603

HEXAGON HEAD BOLT

Болт с шесигранной головкой

2

14

D19-105-01+A

BRACKET

Кронштейн

1

15

B00000609

HEXAGON HEAD BOLT

Болт с шестигранной головкой

1

16

B00000790

HEXAGON NUT (TYPE 1)

Гайка шестигранная (тип 1)

1

17

B00001252

SPRING WASHER

Шайба пружинная

1

18

D02A-171-80+B

O-RING

Кольцо уплотнительное круглого сечения

2

×

Оставить заявку

Защита от автоматических сообщений

Введите слово на картинке *

Заявка на ремонт оборудования

выбрать файл файл не выбран
выбрать файл файл не выбран
выбрать файл файл не выбран
Оставаясь на сайте, вы соглашаетесь на использование файлов куки и передачей данных службам веб-аналитики
Принять