Коленчатый вал SDEC SC9D280D2

Коленчатый вал SDEC SC9D280D2

№ поз.

Номер

Part name

Наименование

К-во

Примечание

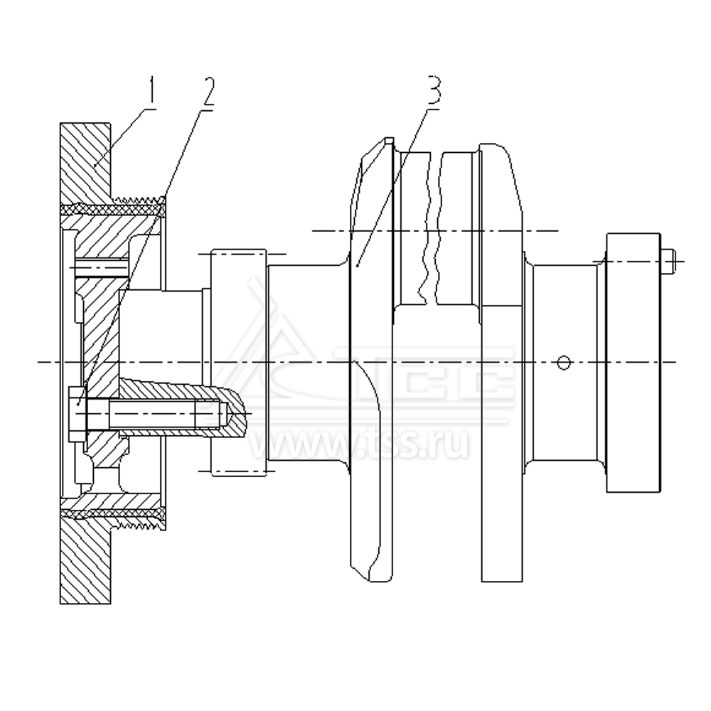
1

S00006538+01

TORSIONAL VIBRATION DAMPER

Гаситель крутильных колебаний

1

2

D06A-109-30+A

CRANKSHAFT DAMPER BOLT

Болт гасителя крутильных колебаний

4

3

S00003155+01

CRANKSHAFT ASSY

Вал коленчатый в сборе

1

×

Оставить заявку

Защита от автоматических сообщений

Введите слово на картинке *

Заявка на ремонт оборудования

выбрать файл файл не выбран
выбрать файл файл не выбран
выбрать файл файл не выбран
Оставаясь на сайте, вы соглашаетесь на использование файлов куки и передачей данных службам веб-аналитики
Принять