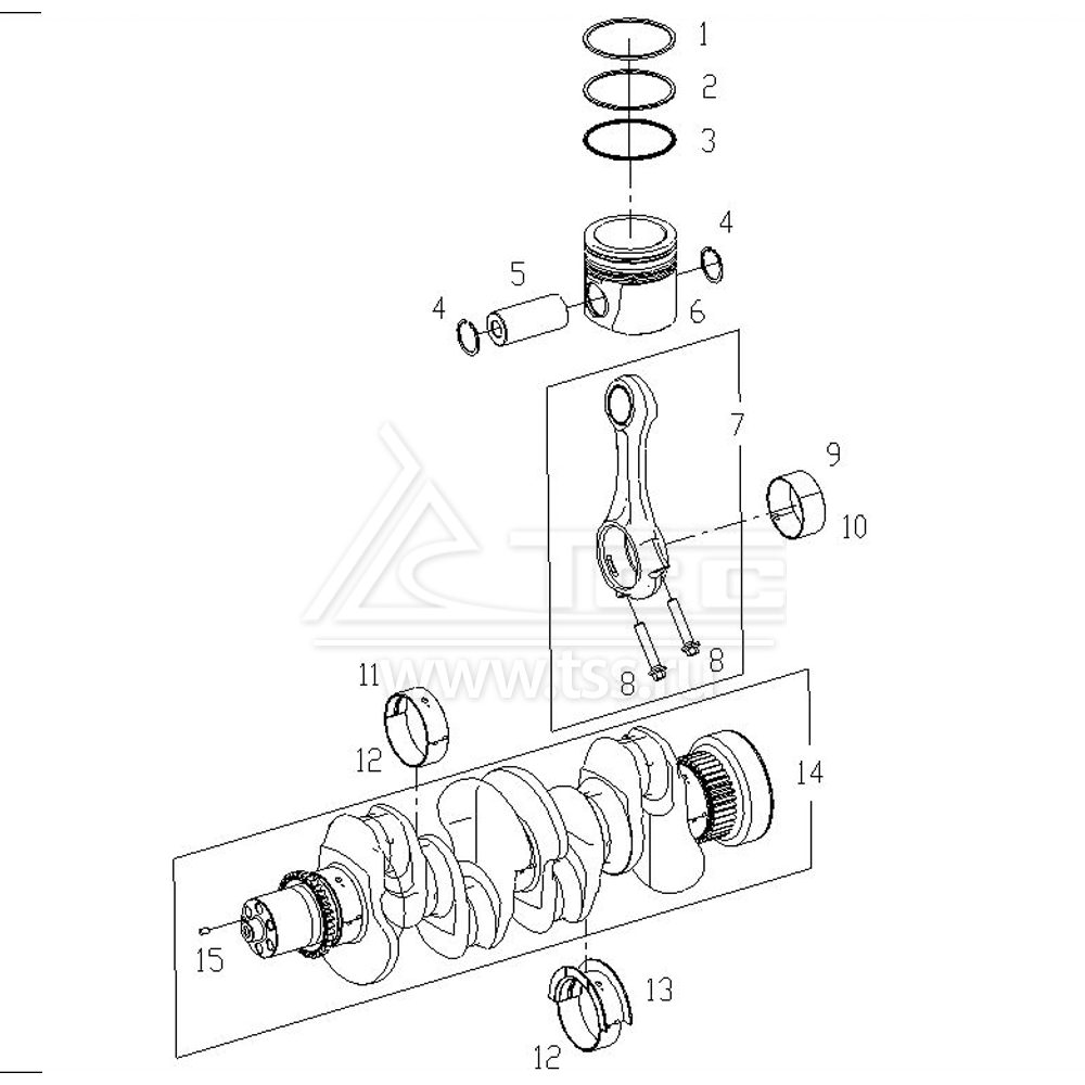
Поршни, шатуны и коленчатый вал SDEC SC4H115D2

Поршни, шатуны и коленчатый вал SDEC SC4H115D2

№ поз.

Номер

Description

Наименование

К-во

Примечание

1

S00000973

TOP RING, PISTON

Кольцо поршневое 1 компрессионное

4

2

S00000974

INTERMEDIATE RING, PISTON

Кольцо поршневое 2 компрессионное

4

3

S00000975

PISTON OIL CONTROL RING ASSY

Кольцо поршневое маслосъемное

4

4

B00001037

RING RETAINER FOR HOLE (TYPE A)

Кольцо стопорное (тип А)

8

5

S00001198

PIN, PISTON

Палец поршневой

4

6

S00000970

PISTON

Поршень

4

7

S00001412

CONNECTING ROD ASSY (MACHINED)

Шатун в сборе

4

8

S00001416

BOLT, CONNECTING ROD

Болт крышки нижней головки шатуна

2

9

S00004365

UPPER BEARING, CONNECTING ROD

Вкладыш шатунного подшипника верхний

4

10

S00004366

LOWER BEARING, CONNECTING ROD

Вкладыш шатунного подшипника нижний

4

11

S00004362

MAIN BEARING, UPPER

Вкладыш коренного подшипника коленчатого вала верхний

4

12

S00004363

MAIN BEARING, LOWER

Вкладыш коренного подшипника коленчатого вала нижний

5

13

S00004364

THRUST BEARING, CRANKSHAFT

Вкладыш упорного/коренного подшипника коленчатого вала верхний

1

14

S00003262

CRANKSHAFT ASSY

Вал коленчатый

1

15

B00000121

SPRING PIN

Штифт пружинный

1

×

Оставить заявку

Защита от автоматических сообщений

Введите слово на картинке *

Заявка на ремонт оборудования

выбрать файл файл не выбран
выбрать файл файл не выбран
выбрать файл файл не выбран
Оставаясь на сайте, вы соглашаетесь на использование файлов куки и передачей данных службам веб-аналитики
Принять