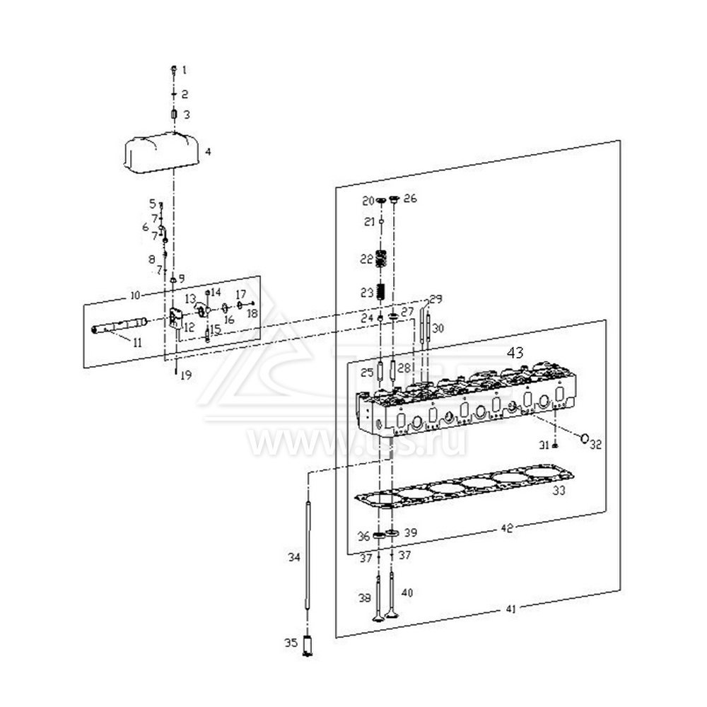
Головки цилиндров и клапанные механизмы SDEC SC27G900D2

Головки цилиндров и клапанные механизмы SDEC SC27G900D2

№ поз.

Номер

Description

Наименование

К-во

Примечание

1

S00021346

HEXAGON BOLTS WITH FLANGE

Болт с шестигранной головкой с фланцем

12

2

B00001547

COMPOSITE HARD SEAL GASKET

Прокладка уплотнительная

12

3

S00021734

LOCK NUT

Гайка контровочная

12

4

S00021043

VALVE COVER

Крышка головки цилиндров

6

5

B00002231

BANJO BOLT

Полый болт типа "банджо"

6

6

765IA-04-020A

FUEL PIPE ASSY (WELDED)

Трубка подачи масла к оси коромысел клапанов

6

7

B00001855

COPPER WASHER

Шайба медная

18

8

765IA-04-003

JOINT ELBOW

Штуцер подачи масла к оси коромысел клапанов

6

9

B00000836

HEXAGON NUTS WITH FLANGE-FINE PITCH THREAD

Гайка шестигранная с фланцем точная

24

10

S00010112

ROCKER ARM AND SHAFT ASSY

Ось с коромыслами клапанов на стойке в сборе

6

11

B00000114

PARALLEL PINS

Штифт направляющий

6

12

S00010082

PEDESTAL, ROCKER ARM

Стойка оси коромысел клапанов

12

13

S00023238

ROCKER ARM ASSY (MACHINED)

Коромысло клапана

24

14

B00000799

HEXAGON NUTS, STYLE 1, WITH FINE PITCH THREAD

Гайка шестигранная контровочная

24

15

761-04-024B

VALVE LASH ADJUSTER

Винт регулировочный коромысла клапана

24

16

761-04-024B

COMPRESSION SPRING

Пружина разделительная коромысел клапанов

24

17

S00008931

RING RETAINER FOR SHAFT, TYPE B

Кольцо стопорное для вала

24

18

B00001696

INNER HEXAGON TAPERED SCREW PLUG

Пробка резьбовая с шестигранной головкой

12

19

B00000122

PARALLEL PINS

Штифт направляющий

12

20

763C-04-013

VALVE SPRING RETAINER

Тарелка пружины выпускного клапана верхняя

12

21

761-04-034A

VALVE COLLET

Сухарь клапана

48

22

763C-04-007A

VALVE SPRING

Пружина клапана внешняя

24

23

763C-04-006A

VALVE SPRING

Пружина клапана внутренняя

24

24

761G-04-104A

EXHAUST VALVE STEM SEAL

Манжета уплотнительная выпускного клапана

12

25

761G-04-101A

VALVE GUIDE

Втулка направляющая выпускного клапана

12

26

761JZ-04-003

INTAKE SPRING, INTAKE

Тарелка пружины впускного клапана верхняя

12

27

761Z-04-060

VALVE ROTOCOLL GROUP

Тарелка подшипниковая впускного клапана

12

28

761Z-04-008A

VALVE GUIDE,

Втулка направляющая впускного клапана

12

29

761W-04-008B

STUD

Шпилька стойки оси коромысел клапанов

12

30

B00001131

STUD

Шпилька стойки оси коромысел клапанов

12

31

761G-04-073A

ELASTIC

Втулка эластичная

12

32

761G-04-052D

PLUG

Пробка

16

33

S00011414

GASKET, CYLINDER HEAD

Прокладка головки цилиндров

2

34

761G-04-050C

PUSH ROD ASSY (WELDED)

Штанга толкателя

24

35

S00020064

TAPPET

Толкатель

24

36

G04-104-02

VALVE SEAT INSERT, EXHAUST

Седло выпускного клапана

12

37

761G-04-091A

LOCK SPRING

Стопор пружинный

24

38

G04-104-02

VALVE, EXHAUST

Клапан выпускной

12

39

761G-04-050C

VALVE SEAT INERT, INTAKE

Седло впускного клапана

12

40

A761Z-04-004

VALVE, INTAKE

Клапан впускной

12

41

S00010658

CYLINDER HEAD SERVICE GROUP

Комплект головки цилиндров

1

42

S00010086

CYLINDER HEAD SERVICE GROUP

Головка цилиндров в сборе

2

43

S00010658

CYLINDER HEAD ASSY (MACHINED)

Головка цилиндров

1

×

Оставить заявку

Защита от автоматических сообщений

Введите слово на картинке *

Заявка на ремонт оборудования

выбрать файл файл не выбран
выбрать файл файл не выбран
выбрать файл файл не выбран
Оставаясь на сайте, вы соглашаетесь на использование файлов куки и передачей данных службам веб-аналитики
Принять