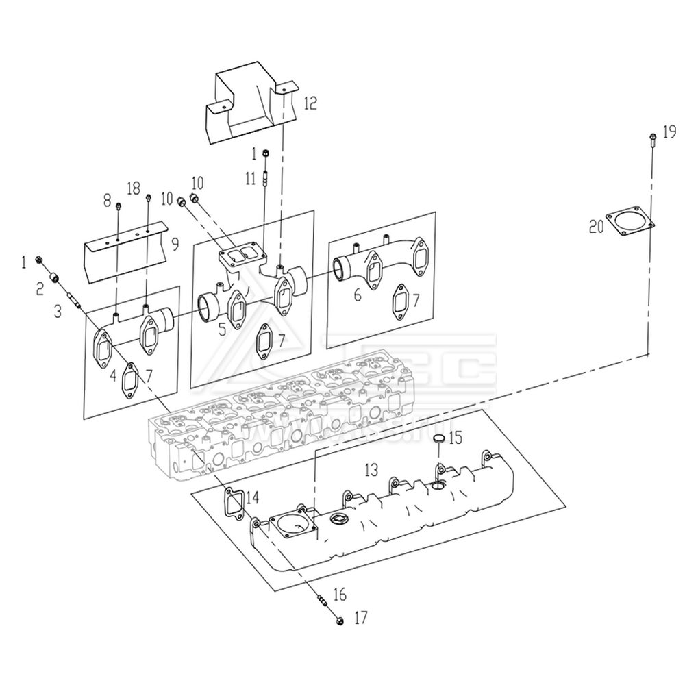
Впускной и выпускной коллекторы SDEC SC13G420D2

Впускной и выпускной коллекторы SDEC SC13G420D2

№ поз.

Номер

Description

Наименование

К-во

Примечание

1

D13-304-01

TURBOCHARGER SELF-LOCKING NUT

Гайка выпускного коллектора самоконтрящаяся

16

2

765Z-04-001

SLEEVE PIPE

Втулка проставочная

12

3

S00008414

STUD

Шпилька

12

4

S00010533

EXHAUST MANIFOLD FRONT PART

Коллектор выпускной передний

1

5

S00010535

EXHAUST MANIFOLD INTERMEDIATE PART

Коллектор выпускной средний

1

6

S00010534

EXHAUST MANIFOLD REAR PART

Коллектор выпускной задний

1

7

761G-04-015A

GASKET, EXHAUST MANIFOLD

Прокладка выпускного коллектора

6

8

B00002129

HEXAGON BOLTS WITH FLANGE

Болт с шестигранной головкой с фланцем

4

9

S00010540

HEAT SHIELD, EXHAUST MANIFOLD

Кожух термозащитный

2

10

B00001716

SQUARE HEAD CONE PIPE PLUG

Пробка резьбовая с квадратной головкой

2

11

S00001481

TURBOCHARGER STUD

Шпилька крепления турбокомпрессора

4

12

S00010541

HEAT SHIELD, EXHAUST MANIFOLD

Кожух термозащитный

1

13

S00012166

AIR INTAKE PIPE ELBOW

Коллектор впускной

1

14

761G-04-014B

GASKET, AIR INTAKE PIPE

Прокладка впускного коллектора

6

15

761G-12-004

PLUG

Пробка

1

16

B00001100

STUD

Шпилька

12

17

B00000833

HEXAGON NUTS WITH FLANGE-FINE PITCH THREAD

Гайка шестигранная с фланцем точная

12

18

B00004368

HEXAGON BOLTS WITH FLANGE

Болт с шестигранной головкой с фланцем

2

19

B00002003

HEXAGON BOLTS WITH FLANGE

Болт с шестигранной головкой с фланцем

4

20

S00012075

GASKET

Прокладка  патрубка впускного коллектора

1

×

Оставить заявку

Защита от автоматических сообщений

Введите слово на картинке *

Заявка на ремонт оборудования

выбрать файл файл не выбран
выбрать файл файл не выбран
выбрать файл файл не выбран
Оставаясь на сайте, вы соглашаетесь на использование файлов куки и передачей данных службам веб-аналитики
Принять