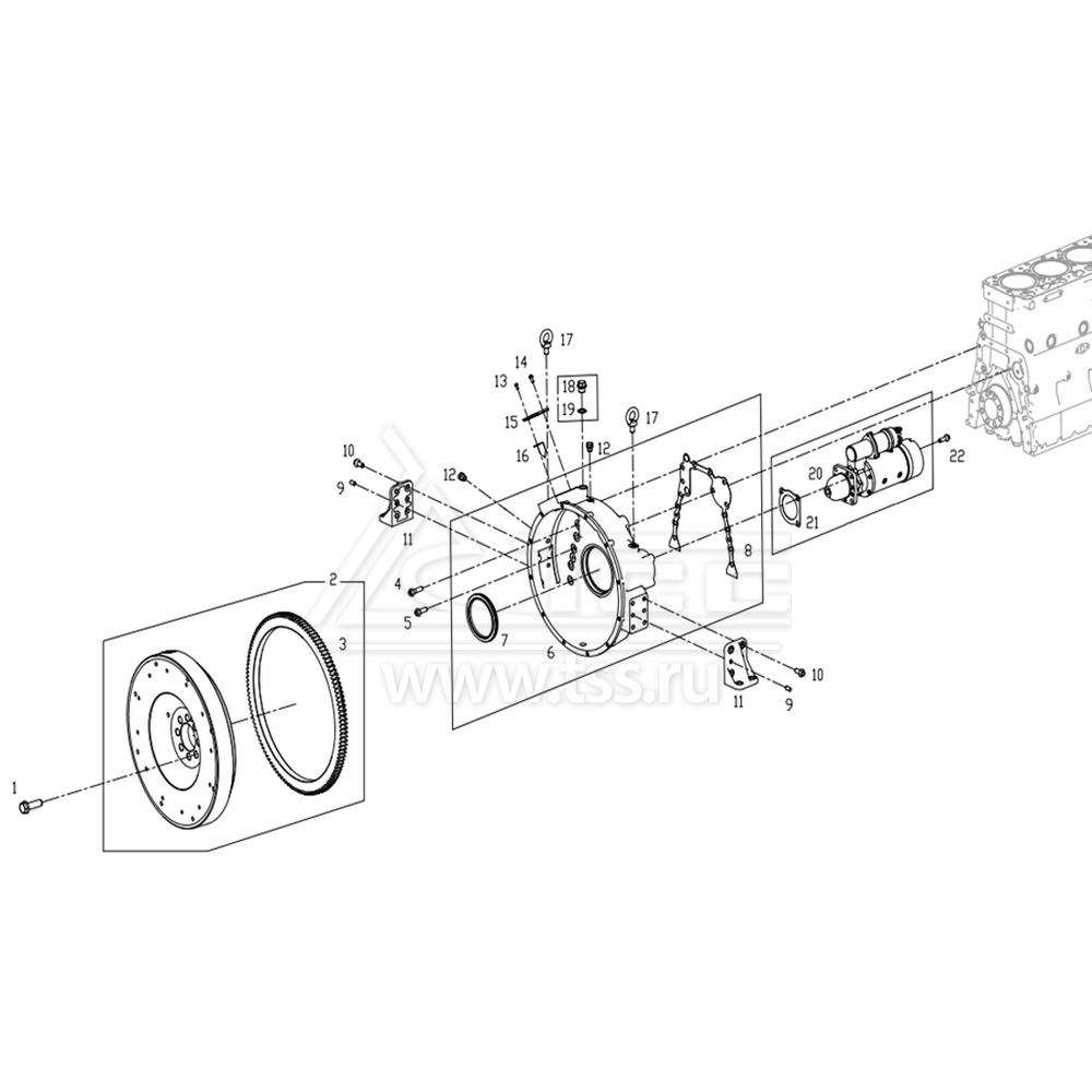
Маховик SDEC SC13G420D2

Маховик SDEC SC13G420D2

№ поз.

Номер

Description

Наименование

К-во

Примечание

1

S00013440

BOLT, FLYWHEEL

Болт маховика

8

2

G06-002-06

FLYWHEEL AND RING GEAR ASSY (ASSEMBLED)

Маховик в сборе с зубчатым венцом

1

Вкл.поз. 2-3

3

763G-06-003A

RING GEAR, ENGINE START

Венец зубчатый маховика

1

4

B00004832

HEXAGON BOLTS WITH FLANGE

Болт с шестигранной головкой с фланцем

2

5

B00004831

HEXAGON BOLTS WITH FLANGE

Болт с шестигранной головкой с фланцем

13

6

G02-103-09

FLYWHEEL HOUSING

Картер маховика

1

7

S00015078

CRANKSHAFT SEAL, BACK

Сальник коленчатого вала задний

1

8

G02-104-01

FLYWHEEL HOUSING GASKET

Прокладка картера маховика

1

9

B00000102

PARALLEL PINS

Штифт центрирующий

4

10

B00004830

HEXAGON BOLTS WITH FLANGE

Болт с шестигранной головкой с фланцем

8

11

761-02-033A

BRACKET

Опора двигателя задняя

2

12

B00001728

HEXAGON PIPE PLUG

Заглушка резьбовая с шестигранной головкой

2

13

B00002111

HEXAGON BOLTS WITH FLANGE

Болт с шестигранной головкой с фланцем

1

14

B00002132

HEXAGON BOLTS WITH FLANGE

Болт с шестигранной головкой с фланцем

2

15

761G-02-046A

POINTER COVER

Крышка смотрового окна картера маховика

1

16

763G-02-013

FINGER

Указатель угла поворота коленчатого вала

1

17

B00000952

LIFTING SCREW

Рым подъема двигателя задний

2

18

G02-130-01

PRESSURE REGULATOR COVER

Регулятор давления в картере маховика

1

19

B00001552

RUBBER COATED HARD WASHER

Шайба уплотнительная обрезиненная

1

20

S00011506

STARTING MOTOR

Стартер

1

21

765I-11-002

GASKET

Прокладка стартера

1

22

B00002056

HEXAGON BOLTS WITH FLANGE

Болт с шестигранной головкой с фланцем

3

×

Оставить заявку

Защита от автоматических сообщений

Введите слово на картинке *

Заявка на ремонт оборудования

выбрать файл файл не выбран
выбрать файл файл не выбран
выбрать файл файл не выбран
Оставаясь на сайте, вы соглашаетесь на использование файлов куки и передачей данных службам веб-аналитики
Принять