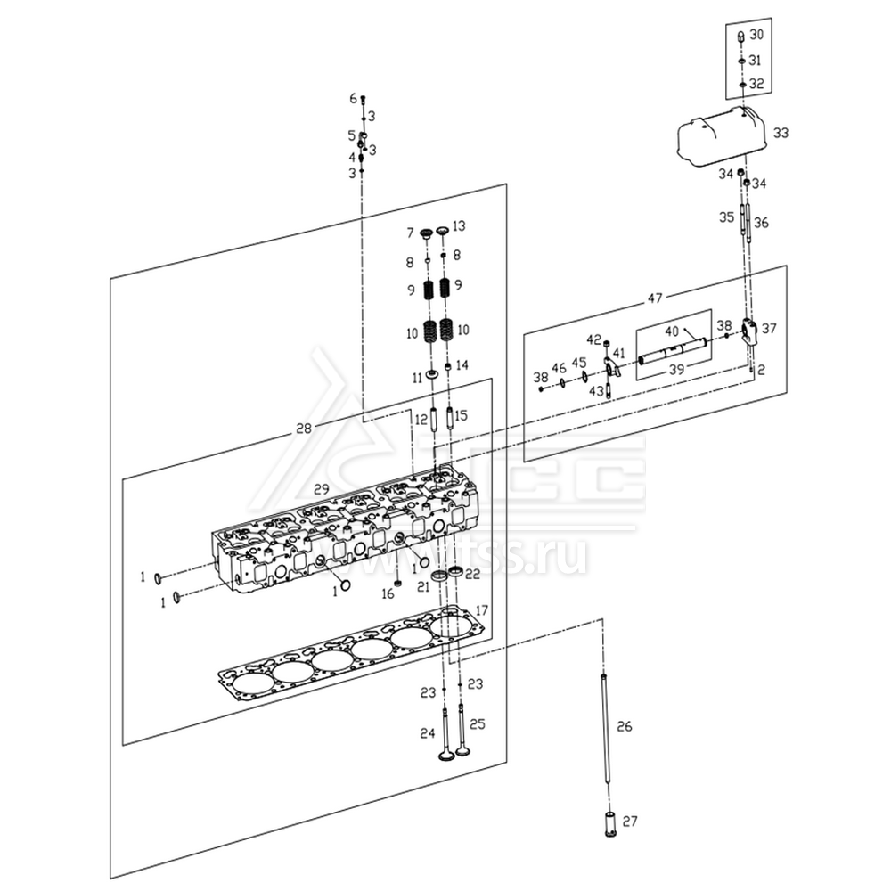
Головка цилиндров SDEC SC13G420D2

Головка цилиндров SDEC SC13G420D2

№ поз.

Номер

Description

Наименование

К-во

Примечание

1

761G-04-052D

PLUG

Заглушка

8

2

B00000121

PARALLEL PINS

Штифт центрирующий

6

3

B00001555

COMPOSITE HARD SEAL GASKET

Шайба уплотнительная составная

9

4

765IA-04-003

JOINT

Втулка резьбовая

3

5

765IA-04-020A

PIPE ASSY (WELDED), OIL FILLER

Трубка масляная подачи масла к стойке вала коромысел клапанов

3

6

B00002232

BANJO BOLT

Полый болт типа "банджо"

3

7

761JZ-04-003

INTAKE SPRING, INTAKE

Тарелка пружины впускного клапана верхняя

6

8

761-04-034A

VALVE COLLET (HALF)

Сухарь клапана

24

9

763C-04-006A

VALVE SPRING (SMALL)

Пружина клапана внутренняя

12

10

763C-04-007A

VALVE SPRING (LARGE)

Пружина клапана внешняя

12

11

761Z-04-060

VALVE CIRCUMGYRATE ASSY

Тарелка подшипниковая пружины впускного клапана нижняя

6

12

761Z-04-008A

INTAKE VALVE GUIDE

Втулка направляющая впускного клапана

6

13

763C-04-013

VALVE SPRING RETAINER

Тарелка пружины выпускного клапана верхняя

6

14

761G-04-104A

EXHAUST VALVE STEM SEAL

Манжета герметизирующая выпускного клапана

6

15

761G-04-101A

VALVE GUIDE

Втулка направляющая выпускного клапана

6

16

761G-04-073A

ELASTIC

Втулка водяного канала

6

17

S00011414

CYLINDER HEAD GASKET

Прокладка головки цилиндров

1

23

761G-04-091A

COLLET

Компенсатор

12

24

A761Z-04-004

INTAKE VALVE

Клапан впускной

6

25

G04-104-02

EXHAUST VALVE

Клапан выпускной

6

26

G04-102-02

PUSH ROD

Штанга толкателя

12

27

G04-101-01

TAPPET

Толкатель

12

28

S00010087

CYLINDER HEAD SERVICE GROUP

Головка цилиндров в сборе

1

Вкл.поз. 1, 12, 15-17, 21-22, 29

29

S00010614

CYLINDER HEAD

Головка цилиндров

1

30

761G-04-092C

CAP NUT

Гайка колпачковая крышки головки цилиндров

6

31

761G-04-078A

WASHER

Шайба

6

32

761G-04-079A

GASKET

Кольцо уплотнительное

6

33

761G-04-120

VALVE COVER AND SEAL RING

Крышка головки цилиндров

3

34

B00000836

HEXAGON NUTS WITH FLANGE-FINE PITCH THREAD

Гайка шестигранная с фланцем точная

12

35

B00001131

STUD

Шпилька

6

36

761W-04-008B

STUD

Шпилька

6

38

B00001696

HEXAGON COUNTERSUNK CONE PIPE PLUG

Пробка резьбовая потайная

6

40

B00000114

PARALLEL PINS

Штифт центрирующий

3

41

771JZ-04-030

ROCKER ARM ASSY (MACHINED)

Коромысло клапана

12

42

B00000799

HEXAGON NUTS , STYLE 1 , WITH FINE PITCH THREAD

Гайка шестигранная точная (тип 1)

12

43

761-04-024B

VALVE LASH ADJUSTER

Винте регулировочный коромысла клапана

12

47

S00010112

ROCKER ARM AND SHAFT ASSY

Клапанный механизм (комплект)

3

Вкл.поз. 2, 37-43, 45-46

×

Оставить заявку

Защита от автоматических сообщений

Введите слово на картинке *

Заявка на ремонт оборудования

выбрать файл файл не выбран
выбрать файл файл не выбран
выбрать файл файл не выбран
Оставаясь на сайте, вы соглашаетесь на использование файлов куки и передачей данных службам веб-аналитики
Принять